亚太区第一!中国直销市场2024年销售额登顶!PM国际2027年冲刺50亿美元业绩 | 一周舆情观察

热点
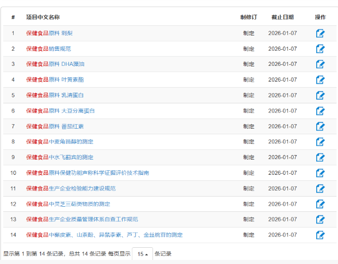
14项保健食品新国标面向社会公开征求意见
12月8日,全国标准信息公共服务平台公示了14项保健食品相关拟立项国家标准计划,并面向社会公开征求意见。此次拟立项标准涵盖多个领域,其中保健食品相关的14项、特医食品相关的4项,征求意见截止时间为2026年1月7日。

重点解读:
在公式的14项标准计划中,其中最值得关注的是《保健食品销售规范》、《保健食品原料保健功能声称科学证据评价技术指南》两项聚焦行业痛点的标准。据悉,在2024年12月16日,中国营养学会团体标准《保健食品原料保健功能声称科学证据评价技术指南》正式发布并开始实施。时隔近一年,《保健食品原料保健功能声称科学证据评价技术指南》国家标准开始立项。从团体标准走向国家标准,这一变迁足以可见保健食品原料保健功能声称评价的科学化和规范化。
政策聚焦

12月3日至4日,2025直销企业保护消费者权益研修交流活动在四川省自贡市举办。活动围绕直播电商治理机制、直销企业合规经营、传统文化赋能企业消费者权益保护等议题,进行了深入探讨和交流。中国消费者报社负责同志及四川、浙江、山东、河南、贵州等省市场监管部门相关处室负责同志参加交流研讨。55家直销企业代表参加活动。
湖北省恩施市市场监督管理局:今年以来,湖北省恩施市市场监管局持续深化打击传销、规范直销工作,下一步,恩施市市场监管局将继续推进“打传规直”工作常态化,不断创新宣传形式、丰富内容载体,做到打击有力、宣传精准、防控到位,切实守护好人民群众的“钱袋子”,为营造规范有序、和谐稳定的市场环境提供坚实保障。
陕西临渭区市场监督管理局:12月8日,陕西临渭区市场监管局对辖区直销服务网点开展督导检查活动,在检查现场,执法人员通过查看进货票据、购销台账等方式对直销服务网点进行全面检查,共检查直销服务网点5家,通过检查,有效地规范了直销市场秩序,增强了各直销服务网点的守法经营意识。下一步,临渭区市场监管局将加大工作力度,严厉打击直销领域的各类违法行为,有力维护公平竞争的市场环境,切实保护消费者的合法权益。
焦点

近期,世界直销协会联盟(WFDSA)发布了2024年全球直销行业年度数据报告。据WFDSA报告数据显示,2024年全球直销行业总销售额为1639亿美元,与2023年数据几乎完全持平。在十大市场中,其中美国直销市场为347.4亿美元,依旧排名第一;排名第二的还是德国,直销总额为190.5亿美元;值得关注的是,中国市场以155.46亿美元的销售额,超越韩国,排名第三并重返亚太地区榜首。

近日,PM国际召开2025年度领导力峰会。会上,PM国际公布2024年全球销售额突破32亿美元,2025年截至峰会前,增速已超过24%。按照这样的增速计算,PM国际2025年业绩将超过39.6亿美元,离最终实现40亿美元的年度销售额只是时间问题。而作为2024年全球直销行业排名第六的巨头,PM国际很可能会在今年超越福维克和大自然集团,向全球前三发起强势挑战。对比40亿美元的业绩,PM国际还在峰会上提出,将在2027年实现50亿美元销售额。
一线曝光

传销:近期,在河南省社旗县公检法的通力合作下,一个组织严密的骗婚犯罪团伙被连根拔起,涉案的126人全部受到法律的惩罚。经查,该团伙有“总经理”、“经理”、“大主任”、“主任”、“主管”、“业务员”几个层级,是一个分工明确的传销式诈骗组织。诈骗所得赃款会先上交到窝点负责人手中,然后按照层级进行抽成,“总经理”抽成30%,“经理”抽成20%,“大主任”抽成10%,剩下的部分由“主任”“主管”“业务员”按比例分配。

虚拟币:2月5日,中国互联网金融协会、中国银行业协会、中国证券业协会、中国证券投资基金业协会、中国期货业协会、中国上市公司协会、中国支付清算协会等七家协会联合发布《关于防范涉虚拟货币等非法活动的风险提示》(以下简称《提示》)。《提示》明确指出,虚拟货币非国家法定货币,境内流通不受法律保护。一些不法分子借机鼓吹有关交易炒作活动,打着稳定币、空气币(π币等)、现实世界资产(RWA)代币、“挖矿”的幌子开展非法集资、传销诈骗等非法活动,并使用虚拟货币转移违法犯罪所得,严重侵害社会公众的财产安全,扰乱经济金融正常秩序。
行业观察

新疆师市市场监督管理局:近期,新疆师市市场监督管理局在前期组织开展保健品专项检查行动的基础上,扎实开展了保健食品经营单位“回头看”检查工作,旨在巩固专项治理成果,严防违法违规行为反弹,持续规范保健品市场秩序。
兰州市市场监督管理局:近日,兰州市市场监督管理局对全市化妆品网络经营情况进行了督导检查。此次督导检查发现个别经营者存在进货查验记录不规范等行为,执法人员责令其限期整改,并对化妆品质量安全负责人法规制度不熟悉等问题进行了规范和指导。
企业动态

完美中国:12月2日至5日,2025企业家博鳌论坛系列活动在海南博鳌举行。完美(中国)有限公司受邀出席,深度参与企业家博鳌论坛主论坛、2025新消费发展论坛、木兰悦享荟、企业家博鳌论坛“公益之约”活动,以及亮相国民共“拾”光市集等,公司CEO彭志红分别在不同场合,围绕创新供给、女性赋能、公益实践发表了系列演讲,并接受新华网专访,展现了“共同成长,完美生活”的企业价值主张与时代担当。

USANA葆婴:在近日于海南博鳌成功举办的“国民共‘拾’光——2025新消费发展论坛”上,作为新华社品牌工作办公室、新华网等机构联合主办的2025企业家博鳌论坛重要系列活动之一,国民健康品牌USANA葆婴凭借其在健康领域的长期深耕与创新实践,获选亮相新华网重磅IP《为国民而生》的品牌展示环节,并被授予“为国民健康素养而生”的高度评价。

如新中国:12月5日,由第一财经与如新联合策划的“预见健康 智享生活”大健康主题论坛在上海国际会议中心盛大举行。论坛汇聚了来自政府、学界、产业界及文化体育领域的顶尖思想者与实践家,通过一场集宏观视野、科学求真与生活美学于一体的深度对话,共同勾勒了一幅从认知升级到行动落地的健康生活全景图。

安利中国:12月5日,“安利美好生活广场” 落成仪式暨安利(中国)三十周年庆典在广州举行,“安利美好生活广场”位于广州市黄埔区,由广州开发区管委会、广州市黄埔区人民政府与安利公司共建。广场内设有安利码头、安利剧场、健身步道和运动设施。安利全球总裁兼首席执行官迈克尔·尼尔森盛赞安利(中国)30年来“远超预期”的成就,并称安利将继续深耕中国这片充满机遇的沃土,目前已启动一项为期五年、总投资21亿元人民币的增资计划。
安发:12月10日上午,兴业银行党委书记、董事长吕家进及副行长杨柳带领调研组莅临安发生物开展实地调研。
三生中国:近日,以“转型·创新·共赢——数字服务,全球共享”为主题的2025(第十届)中国数字服务产业发展年会在雄安新区圆满落幕。年会现场隆重发布了“2025中国服务品牌100强”及“2025中国数字服务年度风云榜” 榜单。三生(中国)一举荣获“2025中国服务品牌100强”、“2025最佳零售服务品牌”奖,三生(中国)市场服务部总监陈薇斩获“2025中国服务品牌领袖人物奖”。
东阿阿胶:12月5日-6日,2025东阿阿胶科技创新大会在山东东阿隆重举行。大会聚焦药品与健康消费品“双轮驱动”业务布局,系统谋划研发顶层设计,明确科技创新方向与路径,为公司高质量发展注入强劲科技动能。
太阳神:12月6日,太阳神SOD团队在广西横州国际大酒店举办了一场备受瞩目的招商会,现场气氛热烈非凡,吸引了众多行业人士与创业者的积极参与。
金木:12月6日,由河北省医药行业协会主办,金木集团、保定中药等单位联合承办的“东方本草・健康共享——中医药大健康产业国际交流研讨会”在河北安国隆重召开。研讨会召开期间,中亚各国嘉宾参观了金木集团国际产业园与金木博览馆,对集团扎实的产业根基与深厚的文化底蕴有了直观且深刻的认识,对双方未来的商贸合作满怀期待、充满信心。
康美时代:近日,康美时代健康中国万里行新品推介会,在广东佛山火热启幕。本次活动,不仅是康美时代践行“健康天下,和美万家”企业使命的生动体现,更是弘扬中医药养生文化、积极响应“健康中国2030”战略的重要举措。
安惠:12月7日,2025安惠泰国乐享研讨会在安惠国际会议中心举办,即将飞赴泰国的800多名安惠经销商伙伴参加。
清晨生物:12月5日,“清晨坤伦-核心战略交流会”在山西运城隆重召开。这是一次承前启后、凝心聚力的关键会议,公司高管班子集体亮相,并与来自全国市场的核心中坚力量——七大战略军团负责人共聚一堂,共商长久发展大计,共绘战略蓝图。
康尔生物:近日,康尔发布一则消息,称康尔云MALL商城将于12月9日正式焕新上线!不仅界面全新升级,体验全面优化,更有感恩专属大促活动同步开启。
理想华莱:近日,根据《湖南省绿色制造体系建设管理办法》(湘工信节能〔2023〕90号)及《湖南省工业和信息化厅关于做好2025年湖南省绿色制造体系创建相关工作的通知》文件要求,经初审、现场核查、会议审定等多轮严格评审程序,理想华莱凭借在绿色制造领域的突出表现,成功荣膺“2025年度湖南省绿色制造单位”。
和治友德:12月5日,猎聘2025年度非凡盛典在青岛举行,和治友德集团荣获“2025天津年度非凡雇主”奖项。
美罗国际:12月9日,美罗国际集团在香港召开经销商市场咨询委员会四届二次工作会议。会议以“凝智定战略 聚力拓新局”为主题,对2025年度工作进行全面总结,并对2026年整体工作做战略规划与部署。
康宝莱:近日,康宝莱携手上海市长宁区天山路街道与灵活办公空间WeWork,在位于上海尚嘉中心的WeWork共享办公空间举办了一场温馨愉悦的“低脂低卡蛋糕DIY”沙龙活动。
绿之韵:12月10日,湖南省光彩事业促进会第五次会员代表大会暨第五届理事会第一次会议在长沙召开。绿之韵集团总裁劳嘉出席会议并当选第五届湖南光彩事业促进会副会长。
无限极:近日,广州市人民政府发布《广州市人民政府关于2025年广州慈善服务表扬对象的通报》,无限极(中国)有限公司凭借在2023—2024年度公益慈善领域的突出贡献,成为"广州慈善服务表扬对象",并在港澳台及外资企业类别中位列第五名。
艾多美:近期,由人民网主办的“2025国民消费大会”在北京举行,艾多美凭借其明星产品“焕力饮”荣获“国民消费品牌案例”奖项。
卫康生物:12月8日,北京中康集团行政部主任孔祥军带队莅临卫康生物集团参观考察。双方围绕企业管理创新、数字化平台建设及产业协同发展等议题展开深入交流,为未来深化合作奠定基础。
金诃藏药:近日,中国民族医药学会正式公布2025年度科学技术奖获奖名单,由青海大学牵头,金诃藏药股份有限公司作为核心完成单位共同参与的 “藏药炮制理论与工艺体系建设及应用示范”项目荣获科学技术奖一等奖。
三八妇乐:12月2日至6日,三八妇乐德宸系统囊集·新机遇·健康财富赋能会在咸阳三八妇乐健康文化交流中心大酒店召开。369名健康从业者齐聚一堂,共同探索青囊集中低频循经推拿康复技术的创新应用。
公益慈善

艾多美中国:近期,香港大埔区宏福苑突发重大火灾,截至12月6日,已造成约159人遇难,31人失联。面对这一紧急情况,艾多美第一时间行动,携手中国科技发展基金会,紧急向灾区捐赠30万元人民币,专项用于支持受灾群众后期的援助工作。

如新中国:近日,如新“善行健康 领跑社区”系列活动再度温暖启程。本次活动延续了“科普+体验+互动”的志愿服务模式,累计吸引近50名志愿者参与,服务近100位长者,通过健康知识讲解、手工制作陪伴及创新科技体验,切实帮助老年人提升自我健康管理能力,传递社会温暖与关怀。
产品速递

康美时代×陈李济推出“陈皮四季饮”

康婷:“Rinawale®防龋健齿牙膏”新品即将上市

三生中国:思莉姿光透润白精华霜即将持证上市
新零售
带货| 微信小店推出其首个“带货短视频激励计划”

AI| 小米拟涉足AI教育

近日,小米集团发布了多个AI教育相关岗位招聘需求,涵盖教研产品经理、儿童与教育高级产品经理、高级商务等职位,表明其有意涉足AI教育领域。